Home
JAQForum Ver 24.01
Log In or Join  
Active Topics
Local Time 16:36 30 Apr 2026 Privacy Policy
Jump to

Notice. New forum software under development. It's going to miss a few functions and look a bit ugly for a while, but I'm working on it full time now as the old forum was too unstable. Couple days, all good. If you notice any issues, please contact me.

Forum Index : Microcontroller and PC projects : Multi-drop TTL

     Page 2 of 4    
Author Message
Tinine
Guru

Joined: 30/03/2016
Location: United Kingdom
Posts: 1646
Posted: 09:43pm 12 Mar 2022
Copy link to clipboard 
Print this post

  TassyJim said  I did a multidrop serial for a while but only while I was waiting for some RS422 modules to arrive.
It worked well with 3 slaves but I forget what baudrate I used. Probably 38400.
Cables were cat5 with the maximum distance about 8 metres.

Schottky Diodes are preferred for speed.

Jim


Good info, Jim.

I was going to mention Schottky due to the lower volt-drop which may/may not be an issue.

8 metres is encouraging because I'm looking at <0.3m  
 
Grogster

Admin Group

Joined: 31/12/2012
Location: New Zealand
Posts: 9938
Posted: 06:06am 13 Mar 2022
Copy link to clipboard 
Print this post

If you only want 300mm or so, would not I2C be perfect for this as mentioned by other members?  You shouldn't even need range extenders for that short a distance.  Perhaps I am missing something - I often do!  

I've had remarkable success with just plain serial over CAT5/CAT6 cable.
I have one setup that just has standard UART - no RS485 or RS422 - running 2400 baud over about 30 meters of cable, and it never misses a beat.

In hindsight, today I would design using RS485 or RS422, but at the time, standard UART over 20-30 meters of twisted pair worked perfectly, so it can sometimes be amazing how far you can push protocols over cable, that were never really designed to cover those kinds of distances!  
Smoke makes things work. When the smoke gets out, it stops!
 
Kabron

Regular Member

Joined: 30/11/2017
Location: Germany
Posts: 65
Posted: 06:11am 13 Mar 2022
Copy link to clipboard 
Print this post

  Mixtel90 said  ... and you'd be back to wired OR. :)

For a network of n nodes every AND gate needs n inputs. \

n-1
 
circuit
Guru

Joined: 10/01/2016
Location: United Kingdom
Posts: 304
Posted: 07:47am 13 Mar 2022
Copy link to clipboard 
Print this post

  Grogster said  If you only want 300mm or so, would not I2C be perfect for this as mentioned by other members?  You shouldn't even need range extenders for that short a distance.  Perhaps I am missing something - I often do!  
 

Absolutely right; I2C is absolutely solid up to 1 metre and I have not seen any failure at 2 metres.  There are many reports on various electronics forums of people pushing it further beyond the manufacturers' specifications; it really depends upon the use of decent cabling and a low-noise environment.  Still, if you need to send I2C crazy distances in a huge welding workshop then Texas Instruments has the answer...
See here:
https://www.ti.com/lit/ug/tiduei0/tiduei0.pdf
 
Mixtel90

Guru

Joined: 05/10/2019
Location: United Kingdom
Posts: 8782
Posted: 08:32am 13 Mar 2022
Copy link to clipboard 
Print this post



Can be replaced by one resistor and 4 diodes.

A current source could be something like this.
.
Edited 2022-03-13 18:44 by Mixtel90
Mick

Zilog Inside! nascom.info for Nascom & Gemini
Preliminary MMBasic docs & my PCB designs
 
Tinine
Guru

Joined: 30/03/2016
Location: United Kingdom
Posts: 1646
Posted: 12:10pm 13 Mar 2022
Copy link to clipboard 
Print this post

Heck, thanks for going to the trouble, Mick. I had the AND-gate thing all wrong in my head.

I2C is not really an option because I have adopted the Network Machine Control (NMC) protocol as used by a product that is offered by Saelig.

I want everything that I do to be compatible with this network.  
 
Mixtel90

Guru

Joined: 05/10/2019
Location: United Kingdom
Posts: 8782
Posted: 12:23pm 13 Mar 2022
Copy link to clipboard 
Print this post

Well, it's not as if you have to find space for the UARTs nowadays.  :)

I suspect the UART system will have the same disadvantage as I2C. Falling edges are fast, but rising edges are relatively slow. You can combat that to some extent by using a lower value of pullup, but you have to stay within the capacity of the weakest device on the bus. A CC source lets you set that current quite precisely and it will stay close to it even through supply variations. Over a short distance it's very likely to be overkill so I wouldn't worry about it.
Mick

Zilog Inside! nascom.info for Nascom & Gemini
Preliminary MMBasic docs & my PCB designs
 
Tinine
Guru

Joined: 30/03/2016
Location: United Kingdom
Posts: 1646
Posted: 12:47pm 13 Mar 2022
Copy link to clipboard 
Print this post

I currently have Propeller to Picomite constantly exchanging packets @ 460KBaud, running since Thursday. Heading to the shop, shortly to stick a Shottky in-circuit.

I normally run it @ 115KBaud.




Craig
 
bigmik

Guru

Joined: 20/06/2011
Location: Australia
Posts: 2980
Posted: 11:16pm 13 Mar 2022
Copy link to clipboard 
Print this post

Hi Craig, All,

Have you considered CAN-BUS?

I have no personal experience with it myself but it is extensively used in Cars, given what they monitor in a car I am sure that managing 30 nodes would be do-able.

No idea what chips or cost this approach might add to your design.

Regards,

Mick
Mick's uMite Stuff can be found >>> HERE (Kindly hosted by Dontronics) <<<
 
dMajo

Newbie

Joined: 18/05/2020
Location: Italy
Posts: 29
Posted: 03:26am 14 Mar 2022
Copy link to clipboard 
Print this post

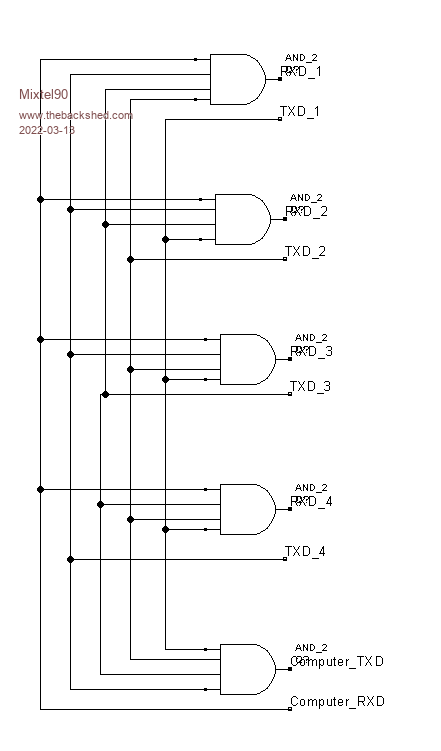
I usually use AND gates in this way:



ALLdataEE.com  EDU Promos
 
Volhout
Guru

Joined: 05/03/2018
Location: Netherlands
Posts: 5863
Posted: 06:42am 14 Mar 2022
Copy link to clipboard 
Print this post

  dMajo said  I usually use AND gates in this way:




That is the way to do it !
The interconnects require a 3 wire cable, so the same system as RS485 can be used. You have firm drivers (the 74HC08) for each line. And all nodes are identical (except address in software). If you want to take this to a bus over longer distance you might want to use smit trigger AND gates and add some low pass filter (RC) at the input to get rid of spikes.

De accumulated delay in all HC08's must be compensated in software (the "turn-around" time cannot be 0) but in general nodes running MMBasic will not be fast enough to suffer from it.


Another alternative has been brought up in the "Beckhoff" thread Tinine started. The UART out can be muxed with UART in under control of the mite. That way you create a ring, where only slaves that recognise their address feed into the ring. The advantage of that topology is that every output is only connected to ONE input. You can use a 74LVC1G157 as mux.


Edited 2022-03-14 17:01 by Volhout
PicomiteVGA PETSCII ROBOTS
 
Volhout
Guru

Joined: 05/03/2018
Location: Netherlands
Posts: 5863
Posted: 07:15am 14 Mar 2022
Copy link to clipboard 
Print this post

And for those who want to use I2, this is fine stuff to read.

I2C bus bufferig techniques
PicomiteVGA PETSCII ROBOTS
 
Tinine
Guru

Joined: 30/03/2016
Location: United Kingdom
Posts: 1646
Posted: 07:16am 14 Mar 2022
Copy link to clipboard 
Print this post

  bigmik said  Hi Craig, All,

Have you considered CAN-BUS?

I have no personal experience with it myself but it is extensively used in Cars, given what they monitor in a car I am sure that managing 30 nodes would be do-able.

No idea what chips or cost this approach might add to your design.

Regards,

Mick


Hi Mick,

Yeah I have used CAN-BUS in the past. Involved a Hilscher device and programming was horrendously complicated.
I was going to have a rant about fieldbus systems but CAN makes sense for vehicles to minimise wiring (weight).
Really not a fan of any standard fieldbus, actually and I come across all varieties in applications where they are of no practical benefit.

Modbus, Profibus, TwinCAT, EtherCAT and today I am trouble-shooting a machine with SUConet (at least they got the first three letters right ).

This 4-wire NMC feels like I am reading/writing to an ISA-Bus card under DOS; address+command+data+csum. Small packets and it simply works  

Craig
 
Tinine
Guru

Joined: 30/03/2016
Location: United Kingdom
Posts: 1646
Posted: 07:19am 14 Mar 2022
Copy link to clipboard 
Print this post

@dMajo
@Volhout

This is cool info, guys. Many thanks  

Craig
 
lizby
Guru

Joined: 17/05/2016
Location: United States
Posts: 3743
Posted: 01:39pm 14 Mar 2022
Copy link to clipboard 
Print this post

  Tinine said  This 4-wire NMC feels like I am reading/writing to an ISA-Bus card under DOS; address+command+data+csum. Small packets and it simply works


Except for CRC instead of checksum (if that's what's implied), how does this differ from MODBUS?
PicoMite, Armmite F4, SensorKits, MMBasic Hardware, Games, etc. on FOTS
 
JohnS
Guru

Joined: 18/11/2011
Location: United Kingdom
Posts: 4304
Posted: 03:11pm 14 Mar 2022
Copy link to clipboard 
Print this post

CAN is typically very simple, although that doesn't stop some organisations making it a pain.

30 nodes is modest.

John
 
dMajo

Newbie

Joined: 18/05/2020
Location: Italy
Posts: 29
Posted: 07:53pm 14 Mar 2022
Copy link to clipboard 
Print this post

And if you need longer bus runs (10 to 25 meters (perhaps more depending on baudrate) between nodes, each green bus segment) you can use this configuration.
It uses RS232 levels between distant nodes and TTL levels between local (close) nodes.
Between each local block and the other the RS232 signal is regenerated. Take care for ground equipotential.



Sorry for the quickly made drawing using images from this thread.
Edited 2022-03-15 05:55 by dMajo
ALLdataEE.com  EDU Promos
 
Tinine
Guru

Joined: 30/03/2016
Location: United Kingdom
Posts: 1646
Posted: 08:00pm 14 Mar 2022
Copy link to clipboard 
Print this post

  lizby said  
  Tinine said  This 4-wire NMC feels like I am reading/writing to an ISA-Bus card under DOS; address+command+data+csum. Small packets and it simply works


Except for CRC instead of checksum (if that's what's implied), how does this differ from MODBUS?


Modbus dates back to 1979. I don't talk "coils"  

I see it as more of a PLC thing. With NMC, I can tightly coordinate (interpolate) 16 axes with an accuracy that would require a temperature controlled environment to justify.

I really don't worry about error checking, although I use a checksum.

Ancient technology is only here because it's a standard. If CNC were invented today, no-way would godawful G-code be considered.

But truth-be-told; I refuse to do anything Modicon because the "Father of the PLC", Dick Morley, called me an idiot on Compuserve    

Craig  
 
lizby
Guru

Joined: 17/05/2016
Location: United States
Posts: 3743
Posted: 08:27pm 14 Mar 2022
Copy link to clipboard 
Print this post

While the MODBUS standard talks about "coils" (which certainly confused me), the use of MODBUS on the Renogy solar controller I'm looking at has nothing to do with coils--it is (for the most part) simply a way of reading and setting 2-byte registers, and the message contents (standard MODBUS) are exactly as you describe the 4-wire NMC (I'm not speaking of the electronics)--1-byte address, 1-byte command, data (including possibly a one-byte length (# of words of data)). Then comes the CRC (and fortunately, there are two methods on fruitoftheshed.com for calculating the CRC--the table-lookup one which I have tried comes up with the same value as the examples in the Renogy manual).

(Note I'm not trying to argue about the electronics, about which I know nothing--just pointing out that the message contents are the same.)
PicoMite, Armmite F4, SensorKits, MMBasic Hardware, Games, etc. on FOTS
 
Tinine
Guru

Joined: 30/03/2016
Location: United Kingdom
Posts: 1646
Posted: 09:05pm 14 Mar 2022
Copy link to clipboard 
Print this post

Oh sure, I was going to acknowledge that; at the end of the day, it's only data and we can do with it whatever.


The CRC overhead is unacceptable to me because we are talking balanced line transceivers. I don't want to compensate for bad electrical engineering with such nonsense as retransmits, etc.

The exact same electrical circuitry is what robots and machine-tools rely upon.

Feedback from incremental encoders is almost exclusively 5v pulses, two channels with a phase offset of 90 degrees to indicate up/down count.

The controller depends solely on this signal integrity because there is no protocol and therefore no error checking.

Were signal integrity not reliable, we would see robots smashing entire car bodies into the floor and machine-tools, at best producing scrap and at worst, self destructing. It doesn't happen often enough to be an issue.

I understand those who promote CRC but as the saying goes "nobody got fired for buying IBM".

Craig
 
     Page 2 of 4    
Print this page
The Back Shed's forum code is written, and hosted, in Australia.
© JAQ Software 2026