Home
JAQForum Ver 24.01
Log In or Join  
Active Topics
Local Time 08:34 25 Apr 2026 Privacy Policy
Jump to

Notice. New forum software under development. It's going to miss a few functions and look a bit ugly for a while, but I'm working on it full time now as the old forum was too unstable. Couple days, all good. If you notice any issues, please contact me.

Forum Index : Electronics : 6Kw Ozinverter build

     Page 17 of 51    
Author Message
Tinker

Guru

Joined: 07/11/2007
Location: Australia
Posts: 1904
Posted: 02:10pm 18 Feb 2018
Copy link to clipboard 
Print this post

Yes, I think he is reading his Ampmeter wrong. 48 milli Amps is ridiculous, there should be at least 4.8 AMPS. Closer to 10 AMPS is even better but that might not be obtainable with a limited series resistor choice.

Mark, if you have an old bar heater element you might reuse some of the resistor wire (nichrome)these elements are wound with. The thicker the wire the better. You would need the inner part from a terminal block to connect (can't solder it) and the terminal's plastic would melt.

The more you experiment with basics, like making resistors and see what effect that has to the current flowing through it, the easier the electricity mystery will come into focus.
Klaus
 
tinyt
Guru

Joined: 12/11/2017
Location: United States
Posts: 557
Posted: 05:49pm 18 Feb 2018
Copy link to clipboard 
Print this post

  renewableMark said  

...I'm using 4x20ah 12v in series 2x20w 33r resistors in parallel (in water)
Which is giving 10.3mv and .048A

I am trying to figure this out:
4x20ah 12v in series = 4 x 12 = 48V
2x20w 33r resistors in parallel = 33/2 = 16.5 ohms

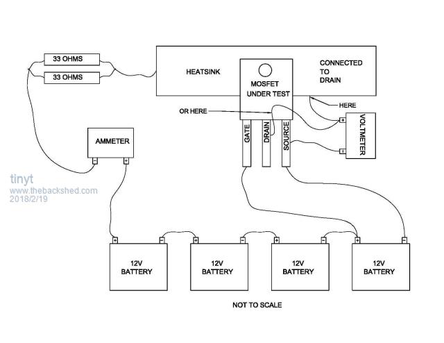
I assume that the connection for measuring current is batteries(positive terminal) + ammeter + resistors + mosfet + batteries(negative terminal).




If the mosfet is dead short, there will be maximum current of 48/16.5 = 2.91 amps

If the mosfet is 'bad'. For example, there is a voltage drop of let us say 1 volt across the mosfet drain to source , the ammeter will read (48-1)/16.5 = about 2.84 amps. Then the RDSon of this mosfet is about 1V/2.84 amps = .352 ohms or 320 milliohms.

I don't know what meters are being use, if the connection is what I described above. maybe there is too much voltage drop in the ammeter or between mosfet drain and the heatsink. Or maybe the mosfet is not being gated on (+ 12 volts with reference to mosfet source/battery negative)
Edited by tinyt 2018-02-20
 
Warpspeed
Guru

Joined: 09/08/2007
Location: Australia
Posts: 4406
Posted: 07:43pm 18 Feb 2018
Copy link to clipboard 
Print this post

Mark, something is very wrong with your figures.
Anyhow I will give you a demo of how I do it.
Cheers,  Tony.
 
renewableMark

Guru

Joined: 09/12/2017
Location: Australia
Posts: 1678
Posted: 08:29pm 18 Feb 2018
Copy link to clipboard 
Print this post

Oh jeez I'm a goose, I had the ammeter across the legs, not in series.
What a prawn, that's so silly it's embarrassing.

Thanks Tinyt, that drawing is correct except my ammeter was in the same position as the voltmeter.

Thanks everyone.
Cheers Caveman Mark
Off grid eastern Melb
 
Tinker

Guru

Joined: 07/11/2007
Location: Australia
Posts: 1904
Posted: 09:20am 19 Feb 2018
Copy link to clipboard 
Print this post

Mark, in that drawing the (milli)Volt meter should only connect where you marked "or here". And do use test probes (the ones that came with the meter), placed on the drain & source leg, as close as possible against the Mosfet body, despite what mad mentioned about probes.

How about testing the millivolts with the probe tips and also with the alligator clips? If there is no difference I stand corrected.
Klaus
 
renewableMark

Guru

Joined: 09/12/2017
Location: Australia
Posts: 1678
Posted: 09:35am 19 Feb 2018
Copy link to clipboard 
Print this post

Thanks Tinker, that's how Warp showed me today.
I'm sure Mad's way would work too with the right croc clips, most stuff these days is such flimsy crap though.

Thanks to Warpspeed for the demo today, very impressive shed you have there.
That inverter looks bloody fantastic, you should do kits for it, that ease of replacement parts is very well thought out, good work mate.
Cheers Caveman Mark
Off grid eastern Melb
 
Warpspeed
Guru

Joined: 09/08/2007
Location: Australia
Posts: 4406
Posted: 07:53pm 19 Feb 2018
Copy link to clipboard 
Print this post

Its one of Murphy's laws.
If its very easy to replace and you have spares, it will never fail.

Its always the most inaccessible and difficult to reach part that is unreliable.
Cheers,  Tony.
 
renewableMark

Guru

Joined: 09/12/2017
Location: Australia
Posts: 1678
Posted: 03:17am 24 Feb 2018
Copy link to clipboard 
Print this post

OK boys,
had another crack at the fet testing
Still using 48v bank, did the wiring as per TinyT's diagram.
Only change is I used more resisters 4x 10ohm in parallel then in series with another lot of 4 in parallel giving me 9.6 odd amps.

So @ 48v I am getting 28.7mv @9.58A

I have done 8 so far and all look similar.

Do those figures look right?
Cheers Caveman Mark
Off grid eastern Melb
 
Warpspeed
Guru

Joined: 09/08/2007
Location: Australia
Posts: 4406
Posted: 03:20am 24 Feb 2018
Copy link to clipboard 
Print this post

Sounds about right.
28.7mV divided by 9.58 = 2.995 milliohms.
Cheers,  Tony.
 
renewableMark

Guru

Joined: 09/12/2017
Location: Australia
Posts: 1678
Posted: 03:31am 24 Feb 2018
Copy link to clipboard 
Print this post

Thanks mate, I checked the data sheet here
And is has typ 2.9 max 3.5 m ohms
Cheers Caveman Mark
Off grid eastern Melb
 
Warpspeed
Guru

Joined: 09/08/2007
Location: Australia
Posts: 4406
Posted: 03:41am 24 Feb 2018
Copy link to clipboard 
Print this post

It does vary a bit with the batch, and from manufacturer to manufacturer.
Three milliohms is right in the middle of what you might expect.
As long as they are all pretty much the same you are set to go.
Cheers,  Tony.
 
renewableMark

Guru

Joined: 09/12/2017
Location: Australia
Posts: 1678
Posted: 04:56am 24 Feb 2018
Copy link to clipboard 
Print this post

All done, there are quite a few that are 2.76,2.74 prob half, the remainder are 2.84,2.83,2.80

It's actually very quick if you set it up right. Thanks for the help guys.
Cheers Caveman Mark
Off grid eastern Melb
 
Tinker

Guru

Joined: 07/11/2007
Location: Australia
Posts: 1904
Posted: 09:43am 24 Feb 2018
Copy link to clipboard 
Print this post

Good that you have worked it out at last. Using 9.58 amps paid off too, at this current a bad connection is unlikely and you were giving the drain/source junction a good test.

Now you might grasp why I use 10amps, that current gives a direct m Ohm reading on the m V meter if you move the decimal point one place to the left .

Anyway, you seem to have a decent batch of Mosfets there.

Well done!
Klaus
 
renewableMark

Guru

Joined: 09/12/2017
Location: Australia
Posts: 1678
Posted: 08:26pm 24 Feb 2018
Copy link to clipboard 
Print this post

Thanks Klaus,
glad to have that done. Those resistors were less than $10, so well worth the effort to get the amps up. Amazing how warm the water in the bucket was after they were all done, and each one was only on for 5 sec at most.
Cheers Caveman Mark
Off grid eastern Melb
 
renewableMark

Guru

Joined: 09/12/2017
Location: Australia
Posts: 1678
Posted: 08:59pm 02 Mar 2018
Copy link to clipboard 
Print this post

Got to the heatsink part.
I was going to use the compound mitre saw, but the blades were $90 for a metal one, and probably won't use it again, so went with the scumbag option.
After stuffing around I really wish I just got the metal blade for the saw.
The cross cut worked out really well, but cutting the fins was a bit of a bugger.
They need a bit of cleaning up and getting rid of any loose bits, might pressure wash it after filing.










Cheers Caveman Mark
Off grid eastern Melb
 
Warpspeed
Guru

Joined: 09/08/2007
Location: Australia
Posts: 4406
Posted: 11:08pm 02 Mar 2018
Copy link to clipboard 
Print this post

A rotary wire brush in an electric drill will remove all of the "fluff" and leave a smooth burnished finish.
Cheers,  Tony.
 
Tinker

Guru

Joined: 07/11/2007
Location: Australia
Posts: 1904
Posted: 09:56am 03 Mar 2018
Copy link to clipboard 
Print this post

I don't understand you guys. You have a beautiful heatink, big enough to cool the inverter without the fan running 95% of the time.

Then you go and butcher a lot of the fin area off .

So you end up having to install a big fan or two and have it running a lot.

Beats me...
Klaus
 
renewableMark

Guru

Joined: 09/12/2017
Location: Australia
Posts: 1678
Posted: 10:20am 03 Mar 2018
Copy link to clipboard 
Print this post

I'm limited with the design of the board, the heatsink has to fit around the capacitors. Mad reckons his fans never get to full speed, Oz likes keeping the caps cool with airflow, if the fans only take a couple of watts then no big deal.
With all the offcuts and extra bits I'll have I did think of bolting on more heatsink to the backs of the fitted ones. Haven't got that far yet.
Cheers Caveman Mark
Off grid eastern Melb
 
Madness

Guru

Joined: 08/10/2011
Location: Australia
Posts: 2498
Posted: 11:20am 03 Mar 2018
Copy link to clipboard 
Print this post

That is right they don't get to full speed but they are big 140mm fans, also I have mine setup so natural convection helps the cooling. I have the fan speed controller set so a few degrees above normal running the fans startup.

This the empty case as it hangs on the wall.



Tinker Mark is following the original Oztules design, he does not have the experience to go out on a limb with a one-off design.
Edited by Madness 2018-03-04
There are only 10 types of people in the world: those who understand binary, and those who don't.
 
Tinker

Guru

Joined: 07/11/2007
Location: Australia
Posts: 1904
Posted: 01:33pm 03 Mar 2018
Copy link to clipboard 
Print this post

  Madness said  

Tinker Mark is following the original Oztules design, he does not have the experience to go out on a limb with a one-off design.


Is it not possible to fit the capacitors on the other side of the PCB? They do have plated thru holes, have they not. This idea certainly works for me, allowing untrimmed heatsinks to fit on the the PCB. The caps are kept cooler there, away from the hot heatsink fins, in the bargain.

Or did this idea not occur to the followers of the original oztules design?

Interesting to see all the work involved in fitting two Aerosharp enclosures together to gain more space.
Making a new enclosure from scratch would be just as much work but with the big advantage of having *no* size restrictions and the choice to mount parts so they connect easier with others in the enclosure.

I'm just assembling my 3+ KW inverter, might take some detailed pics to show what I'm getting on about.Edited by Tinker 2018-03-04
Klaus
 
     Page 17 of 51    
Print this page
The Back Shed's forum code is written, and hosted, in Australia.
© JAQ Software 2026