Home
JAQForum Ver 24.01
Log In or Join  
Active Topics
Local Time 23:32 23 Apr 2026 Privacy Policy
Jump to

Notice. New forum software under development. It's going to miss a few functions and look a bit ugly for a while, but I'm working on it full time now as the old forum was too unstable. Couple days, all good. If you notice any issues, please contact me.

Forum Index : Windmills : Hi-Speed Twin Sav

     Page 2 of 2    
Author Message
wind-pirate

Senior Member

Joined: 01/02/2007
Location: Canada
Posts: 101
Posted: 04:21am 29 Feb 2008
Copy link to clipboard 
Print this post

test
THE Pirate.
stealing wind & solar energy is fun
 
Gill

Senior Member

Joined: 11/11/2006
Location: Australia
Posts: 669
Posted: 09:42am 29 Feb 2008
Copy link to clipboard 
Print this post

Sorry wind pirate, the text of your question has been lost.
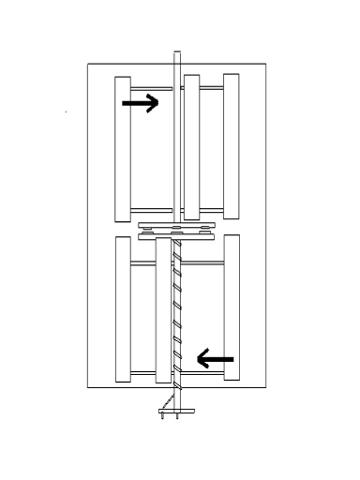
I guess you can see your sketch of the counter rotating VAWTS with what I'm guessing is an axial flux generator in between came out though. Was your question on support and bearing placement?
was working fine... til the smoke got out.
Cheers Gill _Cairns, FNQ
 
Bergen

Newbie

Joined: 19/02/2008
Location: Australia
Posts: 19
Posted: 11:51am 29 Feb 2008
Copy link to clipboard 
Print this post

Looks a few extra ideas of the concept floating around. If no one makes a start on the idea, I'll try a scaled version in a month or so's time, after I've finish my current project. If anyone got ideas of a scaled or full version to test the theory, please post a reply.
Keep up the good work everyone.
PS does any know where I can get brushes and holders to make sliprings for the likes of this project?
regards James
Wind powers my house
 
wind-pirate

Senior Member

Joined: 01/02/2007
Location: Canada
Posts: 101
Posted: 11:29pm 29 Feb 2008
Copy link to clipboard 
Print this post

It was my first picture post. And it goofed three times. lost my text.

Ron
THE Pirate.
stealing wind & solar energy is fun
 
Gill

Senior Member

Joined: 11/11/2006
Location: Australia
Posts: 669
Posted: 04:02am 01 Mar 2008
Copy link to clipboard 
Print this post

Never mind Ron,
It's good to have an illustration of what may well be a better place to mount the generator than the one I first envisaged.
was working fine... til the smoke got out.
Cheers Gill _Cairns, FNQ
 
vawtman

Senior Member

Joined: 14/09/2006
Location: United States
Posts: 146
Posted: 02:04pm 01 Mar 2008
Copy link to clipboard 
Print this post

Here's a posting i did on the subject.
http://www.fieldlines.com/story/2006/10/10/232638/13

I also had the thought of a shaft within a shaft a few years ago.I was all excited until my dad mentioned the need for sliprings.

It would be an awesome machine to watch though.
 
retepsnikrep

Senior Member

Joined: 31/12/2007
Location: United Kingdom
Posts: 134
Posted: 08:23pm 01 Mar 2008
Copy link to clipboard 
Print this post

  wind-pirate said  


I like this design much better.

A thought as the unit will be generating variable frequency AC cannot we simply have an inductive coupling at the bottom instead of slip rings, so no mechanical losses.

Two coils in close proximity basically forming a transformer, I appreciate there will be losses but two simple circular coils at the bottom one on mounting and one on bottom rotor might be an interesting experiment.

Like inductive charging ports on EV's.

http://www.ci.pasadena.ca.us/waterandpower/program_ev_evchar ging_inductive.asp

Or am I barking up the wrong tree?
Gen1 Honda Insights.
 
wind-pirate

Senior Member

Joined: 01/02/2007
Location: Canada
Posts: 101
Posted: 11:56pm 01 Mar 2008
Copy link to clipboard 
Print this post

Lets pick this one apart and record the changes. Then I can redraft it in a bit more detail. "I missed the centre support" My fault. I was thinking of the slip ring with one brush outside of centre. there would be less friction that way. one less brush to lose contact.

And

The stator could be enclosed in a cleaner area.

Any thoughts??

Ron
THE Pirate.
stealing wind & solar energy is fun
 
wind-pirate

Senior Member

Joined: 01/02/2007
Location: Canada
Posts: 101
Posted: 05:50pm 02 Mar 2008
Copy link to clipboard 
Print this post

Sorry I ment slip plates,not stator. The brushs and brush holders could be robbed from a autmotive Alternator.

or for heavy duty use a starter motor brush and holder.

Ron
THE Pirate.
stealing wind & solar energy is fun
 
Bergen

Newbie

Joined: 19/02/2008
Location: Australia
Posts: 19
Posted: 11:19am 03 Mar 2008
Copy link to clipboard 
Print this post

HI, getting the bushes and holders from an automotive alternator gives me a start point for the either slip rings or slip plate, good thinking.
As for inductive coupling, I think there would be slightly more power lost in the coupling (electrical power loss in the inductive transformer) than in the slipring or slip plate power lost in contact friction.
Wind powers my house
 
     Page 2 of 2    
Print this page


To reply to this topic, you need to log in.

The Back Shed's forum code is written, and hosted, in Australia.
© JAQ Software 2026